A piece of a patent – Number 574,434 to Herbert Keithley, applied for June 29, 1896 and awarded January 5, 1897 – titled “Building Construction”:

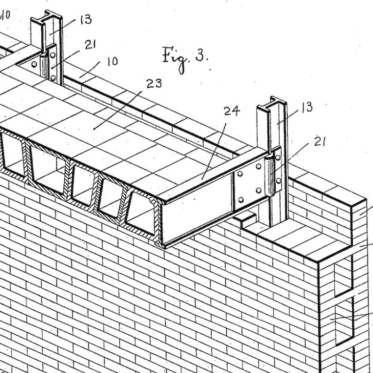
The important context for US construction: the first skeleton-frame buildings, where the exterior walls were supported on a metal frame, were constructed in 1890; the first cage-frame buildings, where frames support the floors and are integrated with self-bearing walls, were constructed in 1884 and 1885. To his credit, Mr. Keithley does not seem to be taking credit for the load-path concepts of cage and skeleton framing, but rather for a detail regarding the wall. As seen in the drawing, he is suggesting the use of what used to be called a “rowlock” or “rolok” wall, with a partial internal cavity created through some creative use of header courses in the brick. As far as I can tell, the innovation he is patenting is putting the perimeter columns inside that cavity. In the “claims” section at the end of the patent, he has eight items, very similar with only minor variation between them, and the operative text in each is “In a building construction, the combination of a masonry wall comprising inner and outer layers, with (“vertical beams” or “a steel or iron frame” or “iron or steel supporting framework” and so on) “located between the inner and outer layers.”
Maybe I’m being unfair. Maybe that really seemed like an innovation in 1896. It wasn’t, particularly: the innovations on this topic in the 1890s all had to do with how gravity and lateral loads were resisted by a building’s structure, and the detail regarding the column location does not directly address that. More importantly, Mr. Keithley was either ignorant of the geometry he was discussing or cheating in his drawings: the void space inside a wall constructed in that manner is typically 4 inches wide. I tend towards the cheating explanation because he says that using a hollow wall saves “about one-third of the brick”, which makes perfect sense if he thinks of this as a three-wythe (12-inch-thick) wall where the middle wythe has been replaced by a void space. Columns that small are not going to work very well, even in low-rise buildings. And making the space bigger would interfere with part of his discussion, that his design does not take floor space out of use for structure.
In order to qualify for a patent, an invention is supposed to be (a) novel and (b) non-obvious. The main idea here may actually be okay, by the standards of the 1890s, on both counts, but that doesn’t mean it’s not useless.

You must be logged in to post a comment.